Note
Access to this page requires authorization. You can try signing in or changing directories.
Access to this page requires authorization. You can try changing directories.
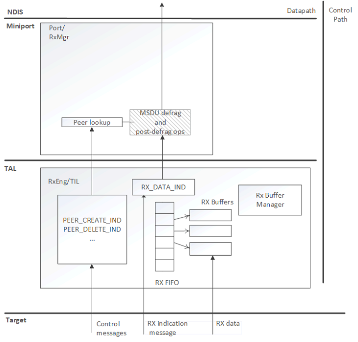
RX path components
The following diagram shows the RX path components.

RX Manager (RxMgr)
The RX Manager performs receive processing steps that are not offloaded to the target or performed by the RxEngine.
| RX function | Description |
|---|---|
| MSDU discard | Discard MSDUs with errors. |
| Queuing and throttling | Manage the DPC watchdog to prevent a bugcheck from too many indications per DPC, and too long at dispatch level. Provide backpressure to the RxEngine when appropriate to help with throttling. |
RxEngine
The RxEngine sends and receives data-synchronous messages to and from the target, interprets RX descriptor formats, and manages buffers for direct hardware to software RX DMAs.
| RX function | Description |
|---|---|
| Host-to-Target message construction | Construct host-to-target data path-related messages. |
| Target-to-Host message parsing | Parse and process target-to-host data-synchronous messages such as NdisWdiRxInorderDataIndication. |
| Interpretation of target RX descriptors | Provide an interface (functions) for querying RX frame attributes from the target-specific descriptor. |
| RX FIFO management | Provide a target-accessible FIFO for posting empty RX buffers for the target to fill. Remove buffers from the FIFO during NdisWdiRxInorderDataIndication processing, and provide replacement empty buffers. |
| RX buffer pool management | Maintain a pool of buffers for DMA transfer of receive frames. |
| MPDU discard | Discard MPDUs with errors. The target indicates the receive frames marked for discard - for example, due to FCS errors or ARQ duplication errors. This is only done if it is not implemented by the target. |
| MPDU reorder | Store MPDUs in order within an RX reordering array until the missing preceding MPDUs arrive. This is only done if it is not implemented by the target. |
| MPDU PN chk | This is only done if it is not offloaded to the target. |
| MSDU Fragment Reassembly | This is only done if it is not offloaded to the target. |
RX path requests and indications
For RX path request and indication function reference, see WDI RX Path Functions.